Какое выбрать приложение и настроить, чтобы управлять телевизором?
Многие производители телефонов разработали собственные приложения для управления смартфонами в качестве пульта ДУ, предназначенные только для их моделей. Выбор приложения в основном зависит от модели телефона, но есть и универсальные программы для Андроид, которые подходят к любому смартфону.

Рассмотрим приложение TV Remote Control, которое имеет бесплатную лицензию и работает на Андроид 2.2 или выше
Программа имеет простой интерфейс и, несмотря на отсутствие в ней русского языка, разобраться в ней очень просто. Чтобы управлять смартфоном как пультом, при помощи TV Remote Control произведите простые настройки, а именно:
- Выберите режим соединения IR Port (есть возможность выбора других режимов, например, через Wi Fi или IR Blaster);
- Выберите модель вашего телевизора;
- Подтвердите выбор.
Приложение настроено, направьте смартфон ИК диодом на ИК порт телевизора и управляйте функциями ТВ со смартфона как с обычного пульта дистанционного управления.
Похожие радиосхемы и статьи:
- Пинхол-камера своими руками
- Изготовление фонографа своими руками из подручных материалов
- Кустарное мастерство: делаем столярные тиски самостоятельно
- Зарядное устройство мобильного телефона своими руками
- Сварочный аппарат своими руками
Типовые схемы управления ад с короткозамкнутым ротором
			Это поможет вовремя выявить и устранить ошибку до выхода из строя самого прибора.
			Интенсивность динамического торможения регулируется резистором Rт, с помощью которого устанавливается необходимый постоянный ток в статоре двигателя.
			На всех бытовых приборах, от соковыжималки до шлифовальной машины, установлены механизмы этого типа.
			Для того, чтобы после подключения к сети мотор заработал, нужен стартовый толчок. Во время отпускания пусковой кнопки, электромотор из двухфазного режима переходит в однофазный, и его работа поддерживается соответствующей компонентой переменного магнитного поля.
			Подключение электромотора с пусковым сопротивлением: Вспомогательная обмотка таких устройств имеет повышенное активное сопротивление. Положительные черты: отсутствие постоянных магнитов снимает проблему их выхода из строя с течением времени; высокий момент силы на низкой частоте вращения; простое и динамичное управление. Для питания бытовых приборов и электродвигателей применяется подключение к однофазной сети с напряжением в В.
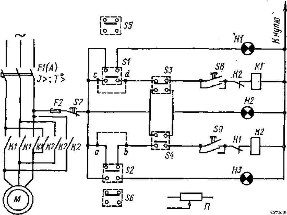
Ниже перечислены дефекты, которые сигнализируют о возможных проблемах с двигателем, их причиной могла стать неправильная эксплуатация или перегрузка: Сломанная опора или монтажные щели. Чтобы проверить работоспособность двигателя, следует включить его сначала на 1 минуту, а затем дать поработать около 15 минут. Схема управления асинхронным двигателем с использованием магнитного пускателя рис. После нажатия кнопки SB1 пускатель КМ1 приходит в действие, подавая электроток в цепь статора с включенным сопротивлением. В данной схеме нажатием кнопки реверса меняется чередование фаз питающего напряжения на статоре двигателя, что будет вызывать смену направленности его вращения реверсом.
Это приводит к включению контактора торможения КМ1, подаче в обмотки статора постоянного тока от выпрямителя V через резистор Rт и переводу двигателя в режим динамического торможения. Они удовлетворяют большинству требований к электроприводу станков. Схема обеспечивает прямой без ограничения тока и момента пуск двигателя, отключение его от сети, а также защиту от коротких замыканий предохранители FА и перегрузки тепловые реле КК. Ниже перечислены дефекты, которые сигнализируют о возможных проблемах с двигателем, их причиной могла стать неправильная эксплуатация или перегрузка: Сломанная опора или монтажные щели.
			Схема управления АД с использованием реверсивного магнитного пускателя В схеме предусмотрена защита от перегрузок двигателя реле КК и коротких замыканий в цепи статора автоматический выключатель QF и управления предохранители FА. Однофазные варианты электродвигателей намного проще и не столь критичны, если допущены ошибки в определении полярности или емкости конденсатора. Начало вращения в асинхронных двигателях с трехфазной обмоткой статора происходит автоматически, благодаря чередованию фаз Как видно на структурной схеме, в коллекторном электродвигателе имеются рабочая и пусковая обмотки. Модели различаются между собой по мощности, частоте вращения, высоте оси вращения, КПД.
			Тепловая защита электродвигателя. Электротепловое реле
Определение направления навивки обмоток
Направление магнитных потоков, создаваемых при работе электродвигателя, определяется направлением навивки проводов отдельных обмоток, задается при конструировании двигателя и не подлежит изменению.
При проверке правильность коммутации, потребность в которой может возникнуть после ремонта или профилактики, следует исходить из того, что взаимодействующие через магнитные потоки обмотки допустимо рассматривать как трансформатор.
Последнее означает, что обмотки могут быть соединены как встречно, так и равнонаправленно.
Суть эксперимента, позволяющего определить взаимное направление обмоток, состоит в том, что кратковременный переменный ток можно создать простым соединением или разрывом цепи с одним источником напряжения, функции которого возлагаются на обычную батарейку.
Соответствующая схема показана ниже. В ее основу положено свойство современного мультиметра автоматически определять полярность измеряемого напряжения.
Схема определения направления намотки проводов отдельных обмоток
Одна из обмоток (левая для обеих конфигураций рисунка) принимается за опорную и в нее через ключ любой конструкции (вплоть до обычного провода, который подключается к выводу обмотки и снимается с него рукой) подключается батарейка.
К клеммам второй обмотки подключается мультиметр, переведенный в режим вольтметра. Если при замыкании ключа мультиметр показывает кратковременное положительное напряжение, то направления намотки проводов совпадают. Этот случай изображен слева.
Справа показан случай встречного (в том числе по направлению генерируемого магнитного поля) включения, когда вольтметр показывает отрицательное напряжение.
Полярность напряжения условно показана знаками “+” и “-“ рядом с изображением вольтметра.
Этот эксперимент несколько более удобно проводить со старыми стрелочными аналоговыми тестерами, у которых отклонение стрелки вправо соответствует положительному напряжению, а влево – отрицательному.
Трехфазный асинхронный двигатель с фазным ротором
До широкого распространения частотных преобразователей асинхронные двигатели средней и большой мощности делали с фазным ротором. Трехфазные асинхронные двигатели с фазным ротором (АДФР) обычно применяли в устройствах с тяжелыми условиями пуска, например в качестве крановых двигателей переменного тока, или же для привода устройств, требующих плавного регулирования частоты вращения.
Конструкция АДФР
Фазный ротор
Конструктивно фазный ротор представляет из себя трехфазную обмотку (аналогичную обмотки статора) уложенную в пазы сердечника фазного ротора. Концы фаз такой обмотки ротора обычно соединяются в «звезду», а начала подключают к контактным кольцам, изолированным друг от друга и от вала. Через щетки к контактным кольцам обычно присоединяется трехфазный пусковой или регулировочный реостат. Асинхронные двигатели с фазным ротором имеют более сложную конструкцию, чем у двигателей с короткозамкнутым ротором, однако обладают лучшими пусковыми и регулировочными свойствами.
Фазный ротор
Статор АДФР
Статор асинхронного двигателя с фазным ротором по конструкции не отличается от статора асинхронного двигателя с короткозамкнутым ротором.
Обозначение выводов вторичных обмоток трехфазного АДФР
Обозначение выводов обмоток ротора вновь разрабатываемых трехфазных машин согласно ГОСТ 26772-85
| Схема соединения обмоток, наименование фазы и вывода | Обозначение вывода | |
|---|---|---|
| Начало | Конец | |
| Открытая схема (число выводов 6) | ||
| первая фаза | K1 | K2 | 
| вторая фаза | L1 | L2 | 
| третья фаза | M1 | M2 | 
| Соединение в звезду (число выводов 3 или 4) | ||
| первая фаза | K | |
| вторая фаза | L | |
| третья фаза | M | |
| точка звезды (нулевая точка) | Q | |
| Соединение в треугольник (число выводов 3) | ||
| первый вывод | K | |
| второй вывод | L | |
| третий вывод | M | 
Обозначение выводов обмоток ротора ранее разработанных и модернизируемых трехфазных машин согласно ГОСТ 26772-85
| Схема соединения обмоток, наименование фазы и вывода | Обозначение вывода | 
|---|---|
| Соединение звездой (число выводов 3 или 4) | |
| первая фаза | Р1 | 
| вторая фаза | Р2 | 
| третья фаза | Р3 | 
| нулевая точка | |
| Соединение треугольником (число выводов 3) | |
| первый вывод | Р1 | 
| второй вывод | Р2 | 
| третий вывод | Р3 | 
Примечание: Контактные кольца роторов асинхронных двигателей обозначают так же, как присоединенные к ним выводы обмотки ротора, при этом расположение колец должно быть в порядке цифр, указанных в таблице, а кольцо 1 должно быть наиболее удаленным от обмотки ротора. Обозначение самих колец буквами необязательно.
Пуск АДФР
Пуск двигателей с фазным ротором производится с помощью пускового реостата в цепи ротора.
Применяются проволочные и жидкостные реостаты.
Металлические реостаты являются ступенчатыми, и переключение с одной ступени на другую осуществляется либо вручную с помощью рукоятки контроллера, существенным элементом которого является вал с укрепленными на нем контактами, либо же автоматически с помощью контакторов или контроллера с электрическим приводом.
Жидкостный реостат представляет собой сосуд с электролитом, в котором опущены электроды. Сопротивление реостата регулируется путем изменения глубины погружения электродов .
Для повышения КПД и снижения износа щеток некоторые АДФР содержат специальное устройство (короткозамкнутый механизм), которое после запуска поднимает щетки и замыкает кольца.
При реостатном пуске достигаются благоприятные пусковые характеристики, так как высокие значения моментов достигаются при невысоких значениях пусковых токов. В настоящее время АДФР заменяются комбинацией асинхронного электродвигателя с короткозамкнутым ротором и частотным преобразователем.
        ГОСТ 27471-87 Машины электрические вращающиеся. Термины и определения.
        ГОСТ 26772-85 Машины электрические вращающиеся. Обозначение выводов и направление вращения.
        А.И.Вольдек. Электрические машины. Учебник для студентов высш. техн. заведений. изд. 2-е, перераб. и доп.-Ленинград: Энергия, 1974.
Программное управление.
 Системы централизованного программного управления приводами без вмешательства диспетчера выполняют операции по заранее заданным условиям.
  Примерами установок, работающих по сигналам программных устройств,  размещаемых на ДП, могут служить, например, кормораздатчики и транспортеры для  уборки помещений. На рисунке 13.18 показана принципиальная схема системы централизованного программного управления транспортными механизмами для нескольких помещений. Она включает в себя программное устройство (контакты Q1…Q4), переключатели программы Sl…Sn (по числу помещений п), распределитель (контакты Е1…Еп) и исполнительные устройства (К1 …Кп), установленные около транспортеров.
  В качестве программного устройства используются реле времени типа 2РВМ  с суточным циклом. Для четырех программ таким образом на ДП требуются два реле  времени. Предположим, что переключатель S1 установлен в положение «1». Тогда при замкнутом контакте Q1 в момент подачи распределителем напряжения на шинку 1 замкнется цепь: «плюс» источника питания, контакт Е1 распределителя, диод VI, переключатель S1, контакт Q1, резистор R1, управляющий электрод, катод тиристора VT1, «минус» источника питания. Тиристор VT1 открывается, благодаря чему замкнется цепь включающей катушки К1 — I, управляющей электромагнитным пускателем транспортера (на схеме не показано). Рис. 13.18. Принципиальная электрическая схема программного дистанционного управления электроприводами.
 Рис. 13.18. Принципиальная электрическая схема программного дистанционного управления электроприводами.
После размыкания контакта Q1 в момент поступления положительного сигнала на шинку 1 включается тиристор VT2, так как с его цепи возбуждения снимается шунт — диод V(2п+1), анод — катод тиристора VT1, благодаря чему получит питание отключающая катушка реле К1-2.
  При переводе  переключателя в положение «2» число включений транспортера в сутки будет  определяться уже числом срабатываний контакта Q2. Централизованное программное управление технологическими процессами в некоторых случаях позволяет уменьшить капитальные вложения на устройства местной автоматики и улучшить надежность всей системы в целом за счет многократного использования аппаратуры ДП.
  Для организации рабочего  места диспетчера и размещения аппаратуры управления и контроля, а также для  хранения рабочей документации промышленность изготовляет диспетчерские столы  типа КЗСП. Столы образуются из тумб и столешниц с горизонтальной поверхностью. Конструкция столов предусматривает установку над столешницей одного или двух корпусов для размещения приборов контроля и других устройств.
  Тумбы предназначены для  размещения в них выводных устройств, клеммников и слаботочной аппаратуры. Верхняя панель тумбы предназначена для размещения командной аппаратуры и приборов связи. На панели приборного корпуса размещают обобщенную мнемоническую схему КП и лампы-клавиши групповой сигнализации, размещение которых приближают к топографическому расположению КП.
- Назад
- Вперёд
Схема реверсивного включения без самошунтирования

Подробнее о схеме управления пуском реверсивного асинхронного двигателя мы расскажем вам так. При нажатии кнопки КнП «право» питание поступает через нормально замкнутый контакт КнП «лево», а благодаря механическому соединению разрывает питание пускателя КМ2, исключая возможность включения КМ2 при одновременном нажатии 2-х кнопок. Далее ток течет к нормально замкнутому контакту пускателя КМ2 на катушку пускателя КМ1, вследствие чего он срабатывает, включая питание на двигатель. Реверс включается КнП «лево», которая так же своими нормально замкнутыми контактами разрывает питание пускателя КМ1, а нормально разомкнутым включает питание пускателя КМ2. Тот, в свою очередь, включает питание на двигатель, но со сменой 2-х фаз местами.
Обратим внимание на схему управления. А точнее, на взаимоблокировку
Она здесь устроена немного по-другому. Питание одного пускателя, мало того что заблокировано нормально замкнутым контактом противоположного пускателя, так еще и блокируется нажатием кнопки. Это сделано для того, чтоб при одновременном нажатии 2-х кнопок за те доли секунды, пока пускатель не разорвет питание второго пускателя, они не включились одновременно.
Схема моста на полевых транзисторах
Еще удобнее использовать комплементарную пару полевых транзисторов, включив их так, как показано на рис. 4, а. Управляющие сигналы должны иметь амплитуду, равную напряжению питания. Работает схема следующим образом.
При отсутствии входных сигналов затворы транзисторов VT1, VT3 соединены с корпусом. Поскольку их истоки подключены к плюсу источника питания, это равносильно подаче на затвор отрицательного напряжения, открывающего транзисторы с каналом р-типа.

Рис. 4. Мостовая схема управления двигателем, выполненная на полевых транзисторах.
Транзисторы VT2 и VT4 имеют канал n-типа, и поэтому подключение их затворов к корпусу обеспечивает им запертое состояние. Двигатель обесточен.
Подача положительного напряжения, например на вход «вправо», закрывает транзистор VT3 и отпирает VT4. Через двигатель протекает ток снизу вверх. При подаче положительного напряжения на вход «влево» открытыми окажутся транзисторы VT2, VT3, и двигатель будет вращаться в обратную сторону.
Диоды VD1—VD4 обеспечивают протекание тока самоиндукции, который возникает в обмотках двигателя при отключении входных сигналов.
Полевые транзисторы должны быть обязательно с индуцированными каналами. У таких транзисторов выходной ток начинает протекать при достижении напряжения на затворе некоторой определенной величины. Чтобы в транзисторах не возникали сквозные токи, напряжение отпирания должно быть больше половины напряжения питания.
На рис. 4, б приведена реальная схема, реализованная на двух микросборках DA1, DA2, содержащих комплементарные пары полевых транзисторов с изолированными затворами.
Транзисторы имеют следующие характеристики:
- максимальный ток стока — 2 А;
- максимальное напряжение «исток-сток» — 25 В;
- сопротивление канала в открытом состоянии — не более 0,15 Ом;
- отпирающее напряжение на затворе — 3 В.
Чем обусловлено реверсивное включение трехфазного двигателя
Вам будет интересно: Симплификация – это что такое?
Для начала разберемся поверхностно, чем обусловлен реверс? Он обусловлен сменой 2-х проводов местами, как правило, в клейменной коробке двигателя.

На фото: образец клейменной коробки с подключением «звезда».
На рисунке выше мы видим, что начала обмоток (С1, С3, С5) свободны для включения в сеть. Концы обмоток (С2, С4, С6) соединены вместе.

На фото: подключение с прямым включением двигателя в сеть.
На рисунке цветными кругами обозначены контакты для подключения фаз. Желтым цветом обозначена фаза А, и подведена она к контакту С1, зеленым – фаза В (С3), желтым – фаза С (С5).
Соблюдая вышесказанные условия, мы сменим любые 2 фазы местами и подключим следующим образом. Фаза А остается на своем месте, контакте С1, фаза В ставится на контакт С5, а фаза С ставится на контакт С3.

На фото: подключение «звезда» с реверсивным включением.
Таким образом, выходит, что нам необходимо 2 пускателя. Один пускатель необходим для обеспечения прямого включения, а второй – для реверсивного включения.
Информационная табличка на двигателе (шильдик)
Полную и достоверную информацию о двигателе можно узнать, если уметь «читать» шильдик. Точнее то, что на нем написано. Начнем описание шильдика рассматриваемого двигателя сверху вниз.
Далее построчно:
- Название двигателя. Значок слева – эмблема завода-изготовителя, справа – знак качества СССР.
- Слева: тип двигателя – в этом наборе букв и цифр кодировалась технологическая информация. В кодировку могли включить данные о: количестве катушек в одной обмотке; количество витков провода в одной катушке; скольким числом проводов намотаны катушки; тип лака, примененного для пропитки и т.д. Справа: заводской номер двигателя.
- Слева направо: количество рабочих фаз; частота рабочего напряжения (Гц); мощность двигателя (W); cos φ – коэффициент мощности тока (параметр показывает, какое количество тока, взятого из сети, используется по назначению). Чем больше мощность, тем выше этот параметр.
- Число оборотов в минуту вала двигателя; характеристики статора – по каким схемам можно соединять обмотки (треугольник или звезда); величина(ы) рабочего напряжения.
- Ток, потребляемый двигателем, соответствующий каждой схеме соединения обмоток (в данном случае — 2,3 А при соединении «треугольником» и 1,33 А – «звездой»); коэффициент полезного действия (КПД), степень пыле- влагозащиты (IP44).
- ГОСТ СССР, по которому сделан двигатель; класс изоляции, режим S1. Режим S1 означает, что это постоянный режим работы. В таком режиме двигатель может оставаться включенным в работу на длительное время.
- Страна-производитель двигателя.
Установка и подключение преобразователя частоты
Теперь расскажу и покажу пошагово, как я смонтировал частотник.
Для начала приготовил переднюю панель.
Панель управления частотником, кнопки, вольтметр
Панель изготовил из текстолита. На панели будут закреплены кнопки с НО и НЗ контактами (без фиксации), и вольтметр в качестве тахометра.
Панель с обратной стороны – кнопки зафиксированы, осталось поставить контакты и закрепить вольтметр
Если говорить просто, вся переделка заключалась в том, что я выкинул контактор и поставил преобразователь частоты Delta, на 1,5 кВт:
Частотник Delta мощностью 1,5 кВт вместо контактора
Честно говоря, 1,5 кВт – многовато, то есть, ПЧ я выбрал с большим запасом (почти в 2 раза). Меньше мощность найти не удалось. Тем лучше с электрической точки зрения – запас карман не тянет.
Фото установки преобразователя частоты:
Частотник установлен в станок на боковую дверцу, вместо контактора
Знаю, что монтаж выполнен не идеально, хорошо бы использовать наконечники и бандажи на провода, но давайте не будем об этом…
ПЧ Дельта, через него подключен двигатель полировки
Ноль в питании станка и частотника не используется, приходит только 3 фазы и земля (PEN проводник).
Питание ПЧ – 3 фазы и земля на входные клеммы R, S, T
Не берите с меня пример – от РУ защитный проводник должен приходить на РЕ шину, и с каждой отдельной клеммы – отдельно на клемму ПЧ, на корпус, и ещё куда надо.
Подключение ПЧ Delta. Клеммы управления и выходные силовые клеммы на двигатель U, V, W
Где еще используются реверсивные пускатели?
Область применения двойных пусковых реле довольно широка. Она не ограничивается одними только электродвигателями. Необходимость изменения направления вращения или перемещения приводных механизмов может возникнуть также в других случаях.
К примеру, каждый человек имеет дома систему водоснабжения, отопления, где всегда есть место различной запорной арматуре. Для промышленных масштабов, при больших расходах, диаметрах трубопроводов, большой точности контроля расхода, обычными кранами не обойтись. Здесь используются задвижки электрической, а также механической системой управления рабочим органом. Вращение диска или перемещение задвижки происходит в разных направлениях, а значит, применение реверсивных схем пуска обосновано.
Схемы управления электроприводами
			Схема пуска асинхронного двигателя с фазным ротором с помощью магнитной станции П При включённом трёхполюсном, выключателе Q1, выполненном в виде рубильника, нажатие пусковой кнопки S2 приводит к присоединению катушки линейного контактора K1 к источнику питания и включению главными замыкающими контактами K1. Схема обеспечивает прямой пуск и реверс двигателя, а также торможение противовключением при ручном неавтоматическом управлении.
			При снижении температуры до установленной ДОТ размыкается и компрессор выключается. Схема последовательного включения двигателей Пример 5.
			Реостатный пуск асинхронного двигателя с кз ротором.
			Точка П является точкой трогания. Один асинхронный низковольтный электродвигатель, предназначенный для привода компрессора.
			Защита двигателя при реверсивном управлении такая же, как и при нереверсивном. При реверсировании двигателя на ходу вначале происходит торможение от данной скорости до нулевой, а затем разгон в другом направлении.
			В случае необходимости только торможения двигателя при достижении им нулевой частоты вращения должна быть вновь нажата кнопка SВЗ, что приведет к отключению двигателя от сети и возвращению схемы в исходное положение. Средства для ингаляционного наркоза : Наркоз наступает в результате вдыхания ингаляции средств, которое осуществляют или с помощью маски
			Достаточно подать на статор двигателя трехфазное напряжение и двигатель сразу запускается. Частоту вращения асинхронного двигателя можно регулировать изменением частоты тока питающей сети, числа пар полюсов статорной обмотки, введением в цепь ротора сопротивления, вызывающего увеличение скольжения.
			Схемы управления магнитным пускателем



















































